Product Summary
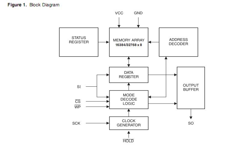
The AT25256AN-10SU-2.7 is an SPI Serial EEPROM. It provides 131,072/262,144 bits of serial electrically-erasable programmable read only memory (EEPROM) organized as 16,384/32,768 words of 8 bits each. The AT25256AN-10SU-2.7 is optimized for use in many industrial and commercial applications where low-power and low-voltage operation are essential. The AT25256AN-10SU-2.7 is enabled through the Chip Select pin (CS) and accessed via a 3-wire interface consisting of Serial Data Input (SI), Serial Data Output (SO), and Serial Clock (SCK). All programming cycles are completely self-timed, and no separate Erase cycle is required before Write. The AT25256AN-10SU-2.7 is available in space saving 8-lead PDIP, 8-lead EIAJ SOIC, 8-lead JEDEC SOIC, 8-lead TSSOP, 8-ball dBGA2 and 8-lead SAP packages. In addition, the entire family is available in 2.7V (2.7V to 5.5V) and 1.8V (1.8V to 5.5V) versions.
Parametrics
AT25256AN-10SU-2.7 absolute maximum ratings: (1)Operating Temperature:-55℃ to +125℃; (2)Storage Temperature:-65℃ to +150℃; (3)Vol tage on Any Pin with Respect to Ground:-1.0V to +7.0V; (4)Maximum Operating Voltage:6.25V; (5)DC Output Current:5.0 mA.
Features
AT25256AN-10SU-2.7 features: (1)Serial Peripheral Interface (SPI) Compatible; (2)Supports SPI Modes 0 (0,0) and 3 (1,1); (3)Data Sheet Describes Mode 0 Operation; (4)Low-voltage and Standard-voltage Operation:2.7 (VCC = 2.7V to 5.5V), 1.8 (VCC = 1.8V to 5.5V); (5)20 MHz Clock Rate (5V); (6)64-byte Page Mode and Byte Write Operation; (7)Block Write Protection:Protect 1/4, 1/2, or Entire Array; (8)Write Protect (WP) Pin and Write Disable Instructions for Both Hardware and Software Data Protection; (9)Self-timed Write Cycle (5 ms Max); (10)High-reliability:Endurance: 1 Million Write Cycles, Data Retention: >100 Years; (11)Automotive Grade, Extended Temperature and Lead-free/Halogen-free; (12)Devices Available; (13)8-lead PDIP, 8-lead EIAJ SOIC, 8-lead JEDEC SOIC, 8-lead TSSOP, 8-ball dBGA2 and 8-lead SAP Packages; (14)Die Sales: Wafer Form, Waffle Pack, and Bumped Die.
Diagrams

| Image | Part No | Mfg | Description | ![]() |
Pricing (USD) |
Quantity | ||||
|---|---|---|---|---|---|---|---|---|---|---|
![]() |
![]() AT25256AN-10SU-2.7 |
![]() Atmel |
![]() EEPROM 8 AUTO NIPDAU 2.7V - 10MS 2.7V |
![]() Data Sheet |
![]() Negotiable |
|
||||
| Image | Part No | Mfg | Description | ![]() |
Pricing (USD) |
Quantity | ||||
![]() |
![]() AT250 |
![]() Protek |
![]() RF Test Equipment Antenna for FC250 |
![]() Data Sheet |
![]() Negotiable |
|
||||
![]() |
![]() AT25010 |
![]() Other |
![]() |
![]() Data Sheet |
![]() Negotiable |
|
||||
![]() |
![]() AT25010-10PC |
![]() Atmel |
![]() IC SEEPROM 1K 8DIP |
![]() Data Sheet |
![]() Negotiable |
|
||||
![]() |
![]() AT25010-10PC-2.7 |
![]() Atmel |
![]() IC SEEPROM 1K 2.7V 8DIP |
![]() Data Sheet |
![]() Negotiable |
|
||||
![]() |
![]() AT25010-10PI |
![]() Atmel |
![]() IC SEEPROM 1K 8DIP |
![]() Data Sheet |
![]() Negotiable |
|
||||
![]() |
![]() AT25010-10PI-2.7 |
![]() |
![]() IC EEPROM 1KBIT 2.1MHZ 8DIP |
![]() Data Sheet |
![]() Negotiable |
|
||||
(China (Mainland))












