Product Summary
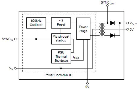
The DCP010515DBP-U is a 1W, unregulated, isolated DC/DC converter. Requiring a minimum of external components and including on-chip device protection, the DCP010515DBP-U provides extra features such as output disable and synchronization of switching frequencies. The use of a highly integrated package design results in highly reliable products with a power density of 40W/in3 (2.4W/cm3). This combination of features and small size makes the DCP01B suitable for a wide range of applications. The applications of the DCP010515DBP-U are point-of-use power conversion, ground loop elimination, data acquisition, industrial control and instrumentation, test equipment.
Parametrics
DCP010515DBP-U absolute maximum ratings: (1)Input Voltage: 5V Input Models:7V, 24V Input Models:29V; (2)Storage Temperature:–60℃ to +125℃; (3)Lead Temperature (soldering, 10s):270℃.
Features
DCP010515DBP-U features: (1)up to 85% efficiency; (2)thermal protection; (3)device-to-device synchronization; (4)short circuit protection; (5)EN55022 class B EMC performance; (6)UL1950 recognized component; (7)jedec PDIP-14 and gull-wing packages.
Diagrams

| Image | Part No | Mfg | Description | ![]() |
Pricing (USD) |
Quantity | ||||||||||||
|---|---|---|---|---|---|---|---|---|---|---|---|---|---|---|---|---|---|---|
![]() |
![]() DCP010515DBP-U |
![]() Texas Instruments |
![]() DC/DC Converters Mini 1W Iso Unreg DC/DC Converter |
![]() Data Sheet |
![]()
|
|
||||||||||||
![]() |
![]() DCP010515DBP-U/700 |
![]() Texas Instruments |
![]() DC/DC Converters Mini 1W Iso Unreg DC/DC Converter |
![]() Data Sheet |
![]()
|
|
||||||||||||
(China (Mainland))









