Product Summary
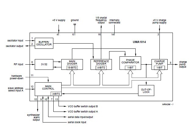
The UMA1014T is a low-power universal synthesizer which has been designed for use in channelized radio communication. The UMA1014T is manufactured in bipolar technology and is designed to operate at 5 to 100 kHz channel spacing with an RF input from 50 to 1100 MHz. The channel is programmed via a standard I2C-bus. A low-power sensitive RF divider is incorporated together with a dead-zone eliminated, 3-state phase comparator. The low-noise charge pump delivers 1 mA or 1/2 mA output current to enable a better compromise between fast switching and loop bandwidth. A power-down circuit enables the synthesizer to be set to idle mode.
Parametrics
UMA1014T absolute maximum ratings: (1)VCC supply voltage range: -0.3 7.0 V; (2)Vi voltage range to ground (all pins): 0 VCC V; (3)Tstg IC storage temperature range: -55 +125 ℃; (4)Tamb operating ambient temperature range: -40 +85 ℃.
Features
UMA1014T features: (1)Single chip synthesizer; compatible with Philips cellular radio chipset; (2)Fully programmable RF divider; (3)I2C interface for two-line serial bus; (4)On-chip crystal oscillator/TCXO buffer from 3 to 16 MHz; (5)16 reference division ratios allowing 5 to 100 kHz channel spacing; (6)1/8 crystal frequency output; (7)On-chip out-of-lock indication; (8)Two extra VCO control outputs; (9)Latched synthesizer alarm output; (10)Status register including out-of-lock indication and power failure; (11)Power-down mode.
Diagrams

![]() |
![]() UMA11NTR |
![]() ROHM Semiconductor |
![]() Transistors Switching (Resistor Biased) DUAL PNP 50V 100MA |
![]() Data Sheet |
![]()
|
|
||||||||||||
![]() |
![]() UMA1A330MDD |
![]() Nichicon |
![]() Aluminum Electrolytic Capacitors - Leaded 10volts 33uF 5x5 20% 2LS |
![]() Data Sheet |
![]()
|
|
||||||||||||
![]() |
![]() UMA1A221MBA1TP |
![]() Nichicon |
![]() Aluminum Electrolytic Capacitors - Leaded 220uF 10V 8x5 |
![]() Data Sheet |
![]() Negotiable |
|
||||||||||||
![]() |
![]() UMA1A330MCA |
![]() Nichicon |
![]() Aluminum Electrolytic Capacitors - Leaded 33uF 10V 5x5 |
![]() Data Sheet |
![]() Negotiable |
|
||||||||||||
![]() |
![]() UMA1C100MDA1TP |
![]() Nichicon |
![]() Aluminum Electrolytic Capacitors - Leaded 10UF 16V |
![]() Data Sheet |
![]() Negotiable |
|
||||||||||||
![]() |
![]() UMA1021AM |
![]() Other |
![]() |
![]() Data Sheet |
![]() Negotiable |
|
||||||||||||
(China (Mainland))









